FICHA DE PRODUCTO
DESCRIPCIÓN DE PRODUCTO
ATSUB-2P-NR 65 TT - Protector para líneas de suministro eléctrico tipo TT. Protección neutro-tierra. Con módulos enchufables. 2 polos. Tipo 1+2. Uc = 275 VAC. Iimp = 15 kA. Imax =65 kA. Up(In) = 1600 V. Up(1,2/50) = 900 V. Tamaño 2DIN.
Ensayado y certificado como protector de Tipo 1+2 según la norma UNE-EN IEC 61643-11 y la GUÍA-BT-23 del REBT.
Adecuado para equipos de Categorías I, II, III, IV según la ITC-BT-23.
Módulos desenchufables que permite su sustitución en caso de avería o fallo.
Protección compacta multipolar.
Constituidos por varistores de óxido de zinc con capacidad de soportar corrientes muy altas.
Coordinable con los protectores de las series ATSHOCK, ATSHIELD y ATCOVER.
Tiempo de respuesta corto.
No producen deflagración.
No producen en ningún momento la interrupción de las líneas de suministro.
Dispositivo termodinámico de control.
Los protectores de la serie ATSUB han sido sometidos a ensayos en laboratorios oficiales e independientes para obtener sus características según las normas de aplicación.
DATOS TÉCNICOS
ELÉCTRICOS
| Tensión nominal | Un | 230 VAC |
| Tensión máxima de funcionamiento | Uc | 275 VAC |
| Frecuencia nominal | f | 50 - 60 Hz |
| Corriente nominal de descarga por polo 8/20µs | In | 30 kA |
| Corriente máxima por polo (onda 8/20µs) | Imax | 65 kA |
| Corriente impulsional por polo (onda 10/350µs) | Iimp | 15 kA |
| Nivel protección para onda 8/20µs a In | Up | 1600 V |
| Nivel protección para onda 1.2/50µs | 900 V | |
| Nivel protección 5kA; onda 8/20µs | 1100 V | |
| Tiempo de respuesta | tr | 25 ns |
| Fusibles previos | 125 A gL/gG | |
| Corriente máxima de cortocircuito | 25 kA |
DIMENSIONES
| Largo | 36 mm |
| Alto | 96 mm |
| Ancho | 80 mm |
| Peso | 300 gr |
| Número de módulos DIN (DIN 43880) | 2 |
AMBIENTALES
| Temperatura de trabajo | -40 °C a +70 °C |
| Situación del protector | Interior |
| Protección de la carcasa | IP20 |
GENERALES
| Categorías de protección según REBT | II, III, IV |
| Tipos de ensayos según UNE-EN 61643-11 | Tipo 1+2 |
| Sistema de alimentación | TT |
CONSTRUCCIÓN
| Fijación | Carril DIN |
| Material carcasa | Poliamida |
| Resistencia de aislamiento | > 1014 Ω |
| Carcasa autoextinguible | Tipo V-0 según UNE-EN IEC 60707 (UL94) |
| Tipo de conexión | Paralelo (un puerto) |
| Número de Polos | 2 |
| Mensaje de fallo del protector | Avisador mecánico. Amarillo: protector en buen estado. Negro: sustituir. |
CONEXIÓN
| Sección mínima multifilar | 4 mm2 |
| Sección máxima multifilar | 35 mm2 |
| Sección mínima unifilar | 1 mm2 |
| Sección máxima unifilar | 35 mm2 |
| Rosca de tornillo | Philips H2 |
| Par de apriete | 3 N·m |
CONTACTO LIBRE POTENCIAL PARA CONTROL REMOTO
ENSAYOS Y CERTIFICACIONES
Ensayos certificados según norma UNE-EN IEC 61643-11.
Cumple con los requisitos de UL 1449.
Normas de aplicación: UNE 21186, UNE-EN IEC 62305.
Conformidad con las directrices CE.
Esquema dimensional (mm)
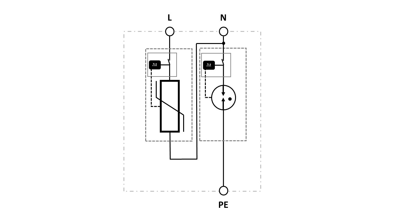
ESQUEMA INTERNO
INSTRUCCIONES
INSTALACIÓN
Los protectores ATSUB se instalan en paralelo con la línea de baja tensión.
Cuando se instalan como protección media es necesario que estén separados de las protecciones basta y/o fina por un cable de al menos 10 metros o, si esto no es posible, por una inductancia tipo ATLINK, a fin de conseguir la correcta coordinación entre ellos.
La instalación debe realizarse sin tensión en la línea y solo pueden realizarla profesionales autorizados.
SEGURIDAD y MANTENIMIENTO
Es imprescindible la conexión a tierra. Para que la protección sea correcta, las tomas de tierra de toda la instalación deben estar unidas, directamente o mediante vía de chispas, y su resistencia debe ser inferior a 10 Ω.
Si en su uso o instalación no se respetan las indicaciones de esta ficha, la protección asegurada por este equipo puede verse comprometida.